Каталог

УС 4х4 (200 мм) белый (Магнито-Контакт)

Код товара: (115828)

Производитель: Магнито-Контакт

309 р.

Опт и мелкий опт (уточняйте у менеджера)

Количество:  - +
Количество: 
- +
Монтажные и пусконаладочные работы

Описание товара

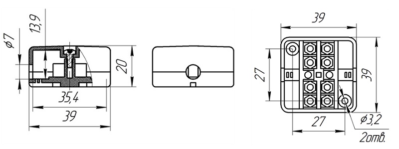
Гибкий переход в пластиковом гофрорукаве для 4х2 проводов, U-коммут. 50В, I-коммут.-0.5А, IP40, t-раб. -60...+70°С, длина 200мм, габ.размеры коробок 39х39х20 мм, белый

Назначение изделия

Предназначен для монтажа систем охранно-пожарной сигнализации, теленаблюдения, а так же монтажа других цепей постоянного или переменного тока, устанавливаемых на подвижных конструкциях (окна, двери).

Технические характеристики

  • Коммутируемое напряжение, не более, В50
  • Степень защитыIP40
  • Коммутируемый ток (максимальный), А0.5
  • Диапазон рабочих температур, °С-60…+70
  • Коммутируемая мощность, Вт не более25
  • Количество коммутируемых цепей4
  • - коробки39х39х20
  • - гибкого перехода200

Документация

Аналогичные товары

ST-DL340
1 254 р. ST-DL340
DS-K4T108-U1
980 р. DS-K4T108-U1
DBA 104J
16 456 р. DBA 104J
BR-100C
2 112 р. BR-100C
06.511.000
2 782 р. 06.511.000