Каталог

АН-433

Код товара: (261002)

Производитель: Альтоника

5 720 р.

Опт и мелкий опт (уточняйте у менеджера)

Количество:  - +
Количество: 
- +
Монтажные и пусконаладочные работы

Описание товара

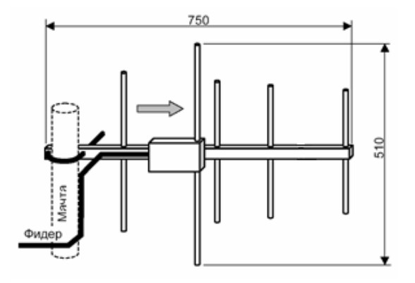
Направленная многоэлементная антенна, усиление 10 дБ, для использования со стационарными передатчиками радиоканальной системы охранной сигнализации, а также с другими радиоустройствами, работающими на частоте 433,92 МГц.

Назначение изделия

Многоэлементная направленная антенна АН-433 предназначена в основном для использования со стационарными передатчиками радиоканальной системы охранной сигнализации «Риф Стринг-200». Антенна обеспечивает при передаче в выбранном направлении усиление не менее 10 дБ, что эквивалентно увеличению мощности передатчика в 10 раз и дальности передачи на открытой местности в 2-3 раза.

Особенности

Рекомендуется для передатчиков RS-200Т и RS-200TP, а также для одноканальных приемников RS-200R

Технические характеристики

  • Рабочая частота, МГц433.92
  • Длина фидера, м3
  • Коэффициент усиления относительно полуволнового вибратора, не менее, дБ10
  • Волновое сопротивление фидера, Ом50
  • КСВ, не более1.5
  • Габаритные размеры мм750х510х80

Документация

Аналогичные товары