Каталог

AT-EL800A

Код товара: (223629)

Производитель: AccordTec

4 268 р.

Опт и мелкий опт (уточняйте у менеджера)

Количество:  - +
Количество: 
- +
Монтажные и пусконаладочные работы

Описание товара

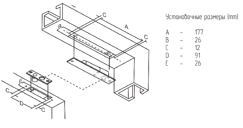
Соленоидный замок со встроенным датчиком состояния замка, врезной, нормально-открытый, питание 12-24 В, двухцветная светодиодная индикация, потребляемый ток в режиме ожидания 150 мА, при пуске 1 А, нержавеющая сталь, -10…+50 °С, 177х26х35 мм, 640 г

Технические характеристики

  • Напряжение питания, В12…24
  • Сторона открывания двериЛюбая (универсальный замок)
  • Ток потребления (при 12 В), не более, А1
  • Диапазон рабочих температур, °С-10…+50
  • Тип установкиВрезной
  • Габаритные размеры мм177х26х35

Документация

Аналогичные товары

ALEL-A1
2 036 р. ALEL-A1
11630.60.3
12 910 р. 11630.60.3
SL-120A
6 621 р. SL-120A
11630.60.1
11 276 р. 11630.60.1