Каталог

PERCo-BP2

Код товара: (820425)

Производитель: PERCo

4 551 р.

Опт и мелкий опт (уточняйте у менеджера)

Количество:  - +
Количество: 
- +
Монтажные и пусконаладочные работы

Описание товара

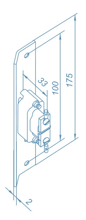
Запорная планка для замка серии LBP85

Особенности

PERCo-BP2 используется для следующих типов алюминиевых профилей производства:
ООО «Агрисовгаз» или аналогичных:
– профили дверного полотна AGS68_6863, AGS50_5213,
– профили дверной коробки AGS68_64, AGS50_5215.
ALUTECH или аналогичных:
– профили дверного полотна AYPC. C48.0202
– профиль дверной коробки AYPC. C48.0105
НОРДПРОФ или аналогичных:
– профили дверного полотна 65.02.05, 65.02.06
– профиль дверной коробки 65.02.04, 65.02.01

Документация

Аналогичные товары

RG-Lock 595
64 350 р. RG-Lock 595
AL-ZL-01 (24V)
25 077 р. AL-ZL-01 (24V)
16.215.30.0
17 157 р. 16.215.30.0
11610.60.4
11 761 р. 11610.60.4